集成運算放大器(以后簡稱集成運放)是一種高電壓增益、高輸入電阻和低輸出電阻的多級直接耦合放大電路。它的類型很多,電路也不一樣,但結構具有共同之處,下圖所示為集成運放的內部電路組成框圖。


圖中輸入級一般是由 BJT、JFET 或 MOSFET 組成的差動放大電路,利用它的對稱特性可以提高整個電路的共模抑制比和其他方面的性能,它的兩個輸人端構成整個電路的反相輸入端和同相輸入端。
運算放大器用差分放大器作輸入級,運放的特性使它們在電子線路中很有用。運放有如下的特性:
1. 抑制共模信號:有利于降低交流哼聲和噪聲。
2. 高輸入阻抗:容易與高阻抗信號源配合使用。
3. 高增益:運放有很高的增益,使用時增益常常通過負反饋減少。
4. 輸出阻抗低:能向一個低阻抗的負載輸出大的信號電流。
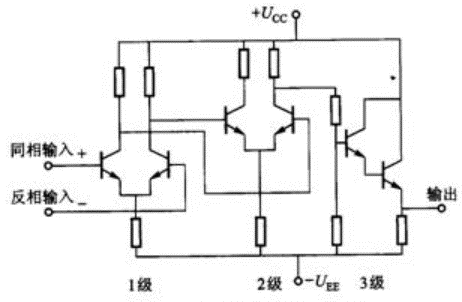
單級放大器不可能具備以上全部優良的性能。實際上運算放大器是幾級放大器的結合。如下圖所示,多級電路中的第一級是差分放大器。差分放大器有高共模抑制比和高輸入阻抗。有些運算放大器為了得到更高的輸入阻抗在第一級用了場效應管。具有 BJT 和 FET 兩種器件結合的運算放大器稱之為 BIFET 運算放大器。
下圖的第二級也是差分放大器,使第一級以差動方式輸出,得到最好的共模抑制性能和差動電壓增益。


圖中的第三級是共集電極電路,或射極跟隨器,這種組態輸出阻抗低。注意輸出是信號的終端,可以不用差動輸出,而用單端輸出。在很多電子學的應用中只要求單端輸出。
圖中注明,一個輸入端是同相輸入端,另一個輸入端是反相輸入端。同相輸入端指由該端輸入信號與輸出端同相。反相輸入端指輸入信號與輸出端信號相差 180°。
下圖用簡化的方法顯示了放大特性。注意三角形,在電路原理圖中常用三角形表示放大器。同時要注意反相輸入端用(一)號標明,同相端用(+)標明,這是通常的習慣。


下圖是國產通用集成運放 F007 的內部電路原理圖,國外同類器件有 uA741、LM741 等。該器件有一個同相輸入端、一個反相輸入端和一個單端輸出端。T1、T2、T3、T4 組成差分輸入級;T5、T6 是恒流源;TI6、T17 是電壓放大級、T18、T19、T23、T14、T20 組成互補輸出功率放大器;T15、T21、R6、R7 組成輸出過流保護電路,它的工作原理我們將在十五章討論;其他晶體管和電阻組成恒流源與偏置電路;Cb 是內部頻率補償電容。T5、T6 還有兩個補償端點,這兩個端點是用于對直流漂移誤差進行校正。不可能生產出完全匹配的三極管和電阻的放大器,總有些偏差。在沒有差動直流輸入時,理想運算放大器的輸出應是零伏,任何偏離電壓稱作直流失調誤差。


F007(LM741)集成運算放大器內部電路
下圖顯示了一個典型的調零應用電路。下圖中同相端與反相端同時接地表示輸入應同時為零,此時調節電位器使輸出端直流電位處在地電位。電位器調節范圍有限,設計調零電路以克服內部偏移量,它在毫伏范圍。它不是用于當外電路有一個大的直流差動輸入信號時輸出調零。在很多應用中,較小的失調量沒有問題,不用調零。


凋零端的使用
多數的運放是集成的,我們看不到集成電路內部有什么,也不便于進行測量。使用時沒有必要顯示詳細內部原理圖。下圖是表示運算放大器的兩種典型方法,三角形都代表放大器,本文中用圖(b)表示運算放大器。

〈烜芯微/XXW〉專業制造二極管,三極管,MOS管,橋堆等,20年,工廠直銷省20%,上萬家電路電器生產企業選用,專業的工程師幫您穩定好每一批產品,如果您有遇到什么需要幫助解決的,可以直接聯系下方的聯系號碼或加QQ/微信,由我們的銷售經理給您精準的報價以及產品介紹

〈烜芯微/XXW〉專業制造二極管,三極管,MOS管,橋堆等,20年,工廠直銷省20%,上萬家電路電器生產企業選用,專業的工程師幫您穩定好每一批產品,如果您有遇到什么需要幫助解決的,可以直接聯系下方的聯系號碼或加QQ/微信,由我們的銷售經理給您精準的報價以及產品介紹
聯系號碼:18923864027(同微信)
QQ:709211280

